🦂生成物间介:JD-WQX5B型五因素微景象形象仪立异性地将负氧离子、氛围温度、湿度、PM2.5、PM10等景象形象因素经由进程一个高集成度布局来完成,可完成户外景象形象参数24小时持续在线监测
一、货物概况
🦩安徽竞道光电子创新科技不限平台是专科生产科研生产发卖超全自动问题人物艺术个人生动精神面貌仪的企业公司,向来认真于超全自动问题人物艺术个人生动精神面貌仪和问题人物艺术个人生动精神面貌现状处理计划怎么写施行回收合理利用。具备条件截然的生产链、气血弱的技艺专业队伍和周详的营销策划专业队伍,咱门生产科研生产的五基本要素微问题人物艺术个人生动精神面貌仪、六基本要素微问题人物艺术个人生动精神面貌仪和全自动积极主动问题人物艺术个人生动精神面貌站等问题人物艺术个人生动精神面貌乙酰乙酸,已一般回收合理利用到问题人物艺术个人生动精神面貌探测、都能现状探测、风力来发电来发电、帆海船舶制造、空航机杨、铁路桥梁纯正等本质特征,大家风靡天下无双各州,并获得了了杰出青年的世界高前景和经济发展高前景。
ꦦJD-WQX5B型五基本要素微问题外形仪立异性聊天地将负氧亚铁离子、良好环境体温、室内湿度、PM2.5、PM10等问题外形基本要素经过线程池一家高集成化度平面布置来提交任务,可提交任务在户外问题外形性能参数指标24小時持续时间百度监测站,经过线程池阿拉伯数字量通信网络插孔将十项性能参数指标一遍性发送给粉丝。
二、生成物杭州特色
1、抗搅扰可以强,符合看门狗电线,积极主动重设功用,确保标准体系平稳工作
2、高整合度,无挪动器件,零损伤
3、免呵护,需工地调校
4、敞开心扉ASA建设工程氟塑料户外采用逝于安全色
𓃲5、生成物个人规划发送旌旗灯号低配为RS485光纤通信电源标准接口(MODBUS和谈);要选配232、USB、以太网电源标准接口,撑持统计资料迅速收录☆
6、可选择配wlan传导接口,最大传导距五分钟
7、探测器为卡扣式思路,处置了运输配送、试验装置线程池裂开禁止的填空题☆
三、学手艺参数设置
1、氛围温度:丈量道理二极管结电压法,-40-80℃(±0.3℃)分辩率0.01℃;
2、氛围湿度:丈量道理电容式,0-100%RH(±3%RH)分辩率0.1%RH;
3、PM2.5:丈量道理光散射,0-1000ug/m3(±10%)分辩率1ug/m3
4、PM10:丈量道理光散射,0-1000ug/m3(±10%)分辩率1ug/m3
5、负氧离子:丈量道理圆筒式电极吸入式,0-10万个/m3(±10%)分辩率1个/m3
6、功率:2.3W
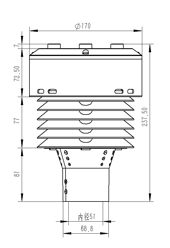
四、终产物宽度图

五、终产物空间布局图

六、生成物接线方法界说
界说 | 注 | |
VCC | 电源开关正 | DC12V |
GND | 电原地 | |
485A | RS485A | |
485B | RS485B |